Hyundai подготвува избалансиран и економичен двоцилиндерски мотор?
Неодамна објавениот патент навестува дека Hyundai подготвува нов двоцилиндесрки мотор. Пријавата за патентот е поднесена на 15 март 2016, а беше објавена на 15 март годинава

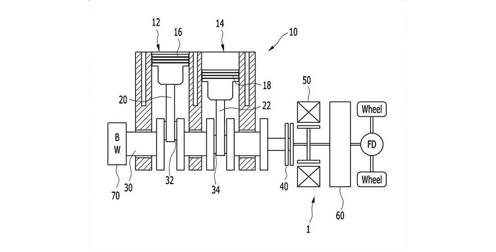
Од неа може да се констатира дека развојот има систем за намалување на вибрациите и бучавата, а во исто време има зголемена економичност. Според патентот се прикажани различни начини за балансирање на моторот: со противтегови помеѓу цилиндрите, помеѓу агрегатот и асист- моторот или offset на моторот.
Во пријавата пишува: „Погонски агрегат со опција која може да вклучува двоцилиндерски мотор со клипови во секој од цилиндрите, коленестото вратило поврзан со двата цилиндри, конектор за селективно поврзување на моторот до коленестото вратило, баланс со внатрешен прстен за врска со коленестото вратило, диск поврзан со внатрешниот прстен и надворешен прстен со одредена тежина и рамнотежа.
Особено, балансираната тежина се однесува на внатрешниот прстен, дискот и надворешниот прстен.
Балансираната тежина може да се позиционира симетрично во соодветните позиции во однос на две спојни шипки.“
Суштината на патентот е првенствено во техничкиот дел и ова несомнено начинот на кој од Hyundai нудат развој на двоцилиндерски мотор во името на повисока економичност. Ова не е прв случај на употреба на двоцилиндерски мотор во автомобилите – такви имаат и FIAT и VW ( Volkswagen XL1 со 800 кубни сантиметри, турбодизел). Дали сепак ќе видиме сериско производство на ваков агрегат, кој се користи во модел на Јужнокорејците е навистина големо прашање.